90014M
SL18-M-Outil
-

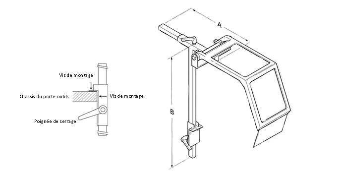
A = 350 x B = 350 x C = 265

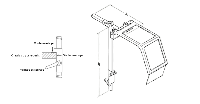
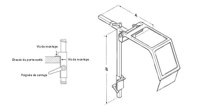
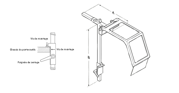
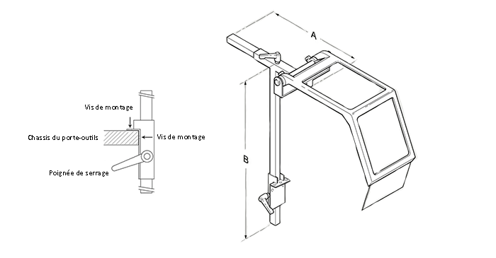
Protecteur pour tour conventionnel. Protection de l’outil
Pour une sécurité maximale le protecteur pour tour peut être équipé d’un rupteur de sécurité.
H = 365 mm – V = 540 mm
Diamètre mandrin : 450 mm – AVEC rupteur